一、撕裂度测试
撕裂度是指将预先切口的纸(或纸板),,,,,,撕至一定的长度所需要力的平均值,,,,,,单位是毫牛顿(mN)。。。。纸和纸板反抗撕裂时的力主要体现为两个部分,,,,,,一部分是纤维与纤维间的结协力,,,,,,撕力要战胜结协力而把纤维拉出;;;;另一部分来自纤维自己强度。。。。这二者的连系,,,,,,使试样体现出耐撕裂的能力。。。。因此,,,,,,撕裂度这一特征作为纸和纸板一项主要强度性能指标被普遍使用。。。。若起始切口是纵向的,,,,,,则所测效果是纵向撕裂度;;;;若起始切口是横向的,,,,,,则所测效果是横向撕裂度。。。。产品标准一般要求测试跟定量有关的横向撕裂度指数。。。。
撕裂度凭证国标GB/T455-2002《纸和纸板撕裂度的测定》 的划定举行。。。。该标准修改接纳ISO 1974:1990。。。。主要适用于低定量纸板和瓦楞原纸,,,,,,不适用于瓦楞纸板和高度定向的纸张。。。。
二、参考要领标准
GB/T 455、ISO 1974
三、检测原理
具有划定预切口的一叠试样(通常4层),,,,,,用一笔直于试样面的移动平面摆施加撕力,,,,,,使纸撕开一个牢靠距离。。。。用摆的势能损失来丈量在撕裂试样的历程中所做的功。。。。

图1 撕裂度的撕裂原理
四、检测装备
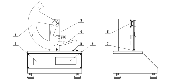
撕裂度仪由机架、摆锤、硬件电路、编码器、显示屏及WiFi联网????部件组成。。。。电脑纸张撕裂度仪(以PN-TT1000F智能机型为例)形状结构如图2所示。。。。
1-打印机 2-摆 3-试样 4-切试样把手 5-水平泡 6-显示屏 7-阻止器 8-编码器
图2 PN-TT1000F 电脑纸张撕裂度仪
摆锤装置在旋转编码器上,,,,,,使其围绕自由摆动。。。。试样夹持在两夹子之间,,,,,,其中一个夹子牢靠在机架上,,,,,,另一个在摆上,,,,,,试样被夹持住。。。。试验前将摆锤置于两夹子成水平的初始位置上,,,,,,用阻止器牢靠。。。。用枢轴上的刀预切试样,,,,,,切口长度为20mm。。。。
撕裂度仪的结构特征应知足表1参数。。。。
表1 撕裂度仪结构特征参数
撕裂力臂/mm | 撕裂角度/° | 撕裂距离/mm | 初切长度/mm | 试样尺寸/mm | 夹纸器夹纸面尺寸/mm | 夹纸器间距离/mm |
104±1 | 27.5±0.5 | 43±0.5 | 20 | 63×50 | 25×15 | 2.8±0.3 |
五、测试历程
(一)试样接纳和处理
试样接纳按GB/T 450举行,,,,,,处理按GB/T 10739举行,,,,,,并在此大气条件下举行试样制备和试验。。。。
(二)试样制备
试样的巨细应为(63士0.5)mm×(50士2)mm,,,,,,应按样品的纵横向划分切取试样。。。。若是纸张纵向与样品的短边平行,,,,,,则举行横向试验,,,,,,反之举行纵向试验。。。。每个偏向应至少做5次有用试验。。。。
(三)测试
(1)仪器调水平
将仪器放在结实无振动的台子上,,,,,,调理仪器的底脚使水平泡居中。。。。
(2)选择档位
凭证试样选择合适档位,,,,,,使效果在20%~80%规模内。。。。
(3)参数设置
设置撕裂偏向、撕裂层数和试样定量(用于盘算撕裂指数)。。。。
(4)夹紧试样
将试样一半正面临着刀,,,,,,另一半反面临着刀。。。。试样的侧面边沿应整齐,,,,,,底边应完全与夹子底部相接触,,,,,,并对正夹紧。。。。
(5) 测试
将摆升至初始位置并牢靠。。。。用切刀将试样切一整齐的刀口,,,,,,切口长度20mm,,,,,,使被撕开的距离是(43士0.5)mm。。。。
图3 纸张撕裂度测试装备
按【测试】键,,,,,,释放摆锤,,,,,,试样被撕裂,,,,,,测试竣事,,,,,,屏幕显示测试效果。。。。
六、效果盘算及剖析
(一)效果盘算
? 撕裂度
按式(1)盘算撕裂度:
式中:
F总——撕裂度,,,,,,mN;;;;
S——总撕裂力值,,,,,,mN;;;;
n——试样的层数。。。。
? 撕裂指数
按式(2)盘算撕裂指数:
式中:
F——撕裂度,,,,,,mN;;;;
X——撕裂知识,,,,,,mN·m2/g;;;;
g——试样的定量。。。。
(二)效果剖析
当实验中有1~2个试样的撕裂线最后与切口延伸线的左右偏斜凌驾10mm,,,,,,应舍弃不计,,,,,,重复试验,,,,,,直到获得5个知足的效果为止。。。。若是有两个以上的试样偏斜凌驾10mm,,,,,,其效果可以保存,,,,,,但应在报告中注明偏斜情形。。。。如在撕裂历程中,,,,,,试样爆发剥离征象,,,,,,而不是正常方位上撕裂,,,,,,应按上述撕裂偏斜情形处理。。。。
偏斜的撕裂 正常的撕裂
测定层数应为4层,,,,,,若是得不到知足的效果,,,,,,可适当增添或镌汰层数,,,,,,但应在报告中加以说明。。。。
测试撕裂度的影响因素:①相对湿度,,,,,,关于一般强度性子的影响,,,,,,都是湿度提高强度降低,,,,,,而撕裂度却是随着相对湿度的增大而增大,,,,,,在相对湿度65%时的撕裂度要比相对湿度50%时横跨12%左右;;;;②仪器精度的影响,,,,,,例如摆轴的摩擦阻力,,,,,,预切口的情形都有显著影响,,,,,,一般情形下,,,,,,由仪器精度所引起的总误差小于1%;;;;③差别层数,,,,,,有些纸紧度高,,,,,,纤维内部结协力强,,,,,,在撕裂的偏向上和撕裂的层数上,,,,,,都是沿着直线撕裂的,,,,,,基本上不受撕裂层数的影响,,,,,,有些纸紧度低,,,,,,纤维结协力差,,,,,,在1层~ 10层举行撕裂度测试时,,,,,,发明层数少,,,,,,撕裂度低,,,,,,随着层数的增添,,,,,,撕裂度增添。。。。
七、可能的过失操作及误差泉源
(一) 可能的过失操作
(1)开机直接测
本仪器属于电子仪器,,,,,,丈量前要预热30min以上。。。。
(2)预切口不到位
由于试样长度是牢靠的,,,,,,若是预切口达不到20mm,,,,,,那么被撕开的距离就会凌驾43mm,,,,,,从而造成撕裂度偏高。。。。
(3)试样偏向弄反了
一般情形横向撕裂度要大于纵向撕裂度,,,,,,若是试样偏向弄错,,,,,,将影响测试效果。。。。
(4)仪器未调水平
仪器是否水平直接影响试验数据的准确性。。。。试验之前,,,,,,一定要调水平。。。。
(二) 主要误差泉源
(1)丈量系统校准禁绝确
本仪器高细密电子产品,,,,,,使用一段时间后,,,,,,由于电子元器件及传感器的性能会爆发转变,,,,,,从而影响测试效果,,,,,,以是要按期举行校准。。。。
(2)仪器的放置状态
若是仪器的水平没有调理好或试验台面不稳固(如振动或强电磁滋扰)都会影响测试效果。。。。尤其是台面倾斜的情形下,,,,,,摆的重力势能会受到影响。。。。
(3)试样的尺寸及切口
试样的尺寸为(63士0.5)mm,,,,,,在63mm 的偏向上预先切一个20mm 长的切口,,,,,,剩余的43mm 就决议着试样撕裂距离的巨细。。。。撕裂距离越大,,,,,,撕裂时所做的功越多,,,,,,撕裂度就越高,,,,,,反之,,,,,, 切口小于20m,,,,,,测定的撕裂度偏高。。。。
(4)试样的定量
试样的定量差别,,,,,,所测定的撕裂度也差别,,,,,,为了消除定量对检测的影响,,,,,,有些产品直接用撕裂者指数来体现产品的机械强度。。。。
本文2024年7月,,,,,,揭晓于《纸箱天下》杂志
